API 624標準明確了帶石墨填料的明桿和升降旋轉閥桿閥門的低泄漏型式測試的要求和驗收標準(100ppmv),之前是按照API622來測試的。填料需滿足在-29°C 到538 °C (–20 °F到1000 °F)下使用。此型式測試包含的要求是按照EPA21的原理。尺寸大于NPS24或壓力大于class 1500的閥門不在此標準之內。
API 624測試方法
5.1 測試的介質需用最小純度為97%的甲烷。 注意:測試期間使用的甲烷是一種加壓可燃氣體,要求采取適當的安全措施。
5.1.1 閥門的測試具有潛在的危險,必須把人員的安全放在首位考慮。鑒于此測試的性質,可能會發生加 壓氣體危險的釋放。需在測試封閉區域提供充分的屏障或隔離以及恰當的人員保護措施。
5.1.2 測試設施需設計成可確保所有的測試狀況是在安全,有保護的環境下進行。測試廠家有責任去分析 由于壓力和溫度造成的危害,并作出適當的安全保護措施。應遵守所有可適用的安全法規。
5.1.3 所有的設備需有相應的證書證明其可以承受最小和最大的壓力以及測試環境的溫度。
5.1.4 供應甲烷的進口和出口所用的軟管和管道應可適用最大和最小壓力和溫度。當用到軟管時,需設計 適當的控制系統來防止萬一發生介質吹出時,軟管從測試臺面分離。
5.1.5 所有測試需遵守當地和國家的相關法律法規。
5.2 測試的閥門的閥桿方向需是垂直的。
5.3閥門需根據圖1進行總共310個機械循環和3個熱循環周期。閥門在室溫情況下開始做機械循環。若買方 有要求,可選做在–29 °C (–20 °F)的低溫測試(見下圖)。
閥門循環試驗
5.4 閥門可用內部熱源或者如電熱毯,線圈等外部熱源來加熱,也可用其他合適的設備或適當的內部熱源 來加熱。
5.5 加熱溫度應升高至260 °C (500 °F) ±5%
5.6 可適用的材料的測試壓力需低于41.4barg(600psig),或根據ASME B16.34在 260 °C (500 °F)下的 最大允許壓力值,并且在整個測試期間保持不變。
5.7 測試的閥門可安裝一種使閥門機械循環的驅動。此驅動不可強加給閥桿或填料額外的側邊載荷。第一 次和最后一次的測試需記錄運行扭矩值。
5.8 需記錄靜態和動態的閥桿泄漏測量值。見圖1.
5.8.1 泄漏需在靜態空氣中進行測量。測試期間應使用鋁箔外殼來屏蔽受環境影響的潛在的滲漏通路。鋁 箔外殼應包括閥桿外徑和填料的外徑。
5.8.2 需對中道連接和輔助連接進行泄漏探測。中道連接和輔助連接的泄漏會影響泄漏測量的讀數,應在 測試之前糾正過來,并在報告中記錄。閥蓋的探測針頭的速率應該在每秒25mm(1英寸)。應調整儀器來彌補 后臺的甲烷水平。
5.8.3應在以設備反應時間兩倍的時間延遲后,記錄靜態/動態泄漏。
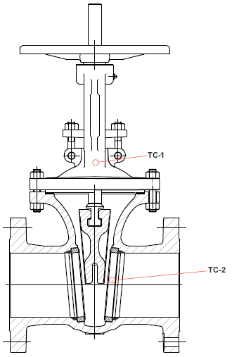
5.9 閥門應配備熱電偶來監測測試期間的溫度。應在兩個位置監測并記錄溫度。(見下圖)
5.9.1 TC-1處,附在填料箱上。附在填料箱上的熱電偶需控制溫度。
5.9.2 TC-2處,固定在閥體外部,臨近流通路徑的地方,可作為參考測量。
5.9.3 TC-2處,需與TC-1處值同等或大于TC-1處
5.10 不允許在型式測試過程中調整填料。

溫度位置
合格閥門涵蓋范圍
API 624推薦閥門樣機
表 B.2 根據 API602 生產的用于測試的閘閥尺寸與壓力
|
NPS |
CLASS |
|
3/4 寸 |
800 |
|
1 1/2 寸 |
800 |
|
3/4 寸 |
1500 |
|
1 1/2 寸 |
1500 |
表 B.2 根據 API602 生產的用于測試的截止閥尺寸與壓力
|
NPS |
CLASS |
|
3/4 寸 |
800 |
|
1 1/2 寸 |
800 |
|
3/4 寸 |
1500 |
|
1 1/2 寸 |
1500 |
表 B.3 根據 API600 生產的用于測試的閘閥尺寸與壓力
|
NPS |
CLASS |
|
4 寸 |
150 |
|
4 寸 |
600 |
|
4 寸 |
1500 |
|
12 寸 |
150 |
|
12 寸 |
600 |
|
12 寸 |
1500 |
|
20 寸 |
150 |
|
20 寸 |
600 |
表 B.4 根據 API603 生產的用于測試的閘閥尺寸與壓力
|
NPS |
CLASS |
|
3/4 寸 |
150 |
|
1 1/2 寸 |
600 |
|
4 寸 |
150 |
|
4 寸 |
600 |
|
12 寸 |
150 |
|
12 寸 |
600 |
|
20 寸 |
150 |
|
20 寸 |
600 |
容大檢測實驗室

Copyright ? 2008-2020 江蘇容大材料腐蝕檢驗有限公司 版權所有 備案號: 蘇ICP備16054545號-1
蘇公網安備 32020502000190號 技術支持:迅誠科技